
冷原子吸收分光光度法(GB/T 17136-1997)
1 主题内容与适用范围
1.1 本标准的检出限视仪器型号的不同而异,本方法的最低检出限为0.005mg/Kg(按称取2g试样计算)。
1.3 易挥发的有机物和水蒸气在253.7nm处有吸收而产生干扰。易挥发有机物在样品消解时可除去,水蒸气用无水氯化钙、过氯酸镁除去。
2 原理
汞原子蒸气对波长为253.7nm的紫外光具有强烈的吸收作用,汞蒸气浓度与吸光度成正比。通过氧化分解试样中以各种形式存在的汞,使之转化为可溶态汞离子进入溶液,用盐酸羟胺还原过剩的氧化剂,用氯化亚锡将汞离子还原成汞原子,用净化空气做载气将汞原子载入冷原子吸收测汞仪的吸收池进行测定。
3 试剂
除非另有说明,分析中均使用符合国家标准或专业标准的优级纯试剂。
3.1 无汞蒸馏水:二次蒸馏水或电渗析去离子水通常可达到此程度3,也可将蒸馏水加盐酸酸化至pH=3,然后通过巯基棉纤维管除汞(见附录B)。
3.2 硫酸(H2SO4),ρ=1.84g/ml。
3.3 盐酸(HCl),ρ=1.19g/ml。
3.4 硝酸(HNO3),ρ=1.42g/ml。
3.5 硫酸-硝酸混合液,1+1。
3.6 重铬酸钾(K2Cr2O7)。
3.7 高锰酸钾溶液:将20g的高锰酸钾(KMnO4,必要时重结晶精制)用蒸馏水(3.1)溶解,稀释至1000ml。
3.8 盐酸羟胺溶液:将20g的盐酸羟胺(NH2OH·HCl)用蒸馏水(3.1)溶解,稀释至100ml。
3.9 五氧化二钒(V2O5)。
3.10 氯化亚锡溶液:将20g氯化亚锡(SnCl2·2H2O)置于烧杯中,加入20ml盐酸(3.3),微微加热。待完全溶解后,冷却,再用蒸馏水(3.1)稀释至100ml。若有汞,可通入氮气鼓泡除汞。临用前现配。
3.11 汞标准固定液:将0.5g重铬酸钾(3.6)溶于950ml蒸馏水(3.1)中,再加50ml硝酸(3.4)。
3.12 稀释液:将0.2g重铬酸钾(3.6)溶于972.2ml蒸馏水(3.1)中,再加27.8ml硫酸(3.2)。
3.13 汞标准贮备溶液,100mg/L:称取放置在硅胶(3.16)干燥器中充分干燥过的0.1354g氯化汞(HgCl2),用汞标准固定液(3.11)溶解后,转移到1000ml容量瓶中,再用汞标准固定液(3.11)稀释至标线,摇匀。
3.14 汞标准中间溶液,10.0mg/L:吸取汞标准贮备溶液(3.13)10.00ml,移入100ml容量瓶,加汞标准固定液(3.11)稀释至标线,摇匀。
3.15 汞标准使用溶液,0.100mg/L:吸取汞标准中间溶液(3.14)1.00ml,移入100ml容量瓶,加汞标准固定液(3.11)稀释至标线,摇匀。
3.16 变色硅胶:Φ3~4mm,干燥用。
3.17 经碘处理的活性炭:按重量取1份碘,2份碘化钾和20份蒸馏水,在玻璃烧杯中配制成溶液,然后向溶液中加入约10份柱状活性炭(工业用,Φ3mm长3~7mm)。用力搅拌至溶液脱色后,从烧杯中取出活性炭,用玻璃纤维把溶液滤出,然后在100℃左右干燥1~2h即可。
3.18 仪器洗液:将1.0g重铬酸钾(3.6)溶于900ml蒸馏水(3.1)中,加入100ml硝酸(3.4)。
4 仪器
一般实验室仪器和以下专用仪器:
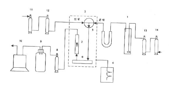
载气净化系统,可根据不同测汞仪特点及具体条件,参考下图进行连接。
测汞装置气路连接示意图
图中:1—汞还原器;2—U型管;3—测汞仪;4—记录仪
5—三通阀;6—吸收池;7—流量控制器;
8、12、13—汞吸收塔;9—气体缓冲瓶,10L;
10—机械真空泵;11、14—空气干燥塔(内盛变色硅胶)
所有玻璃仪器及盛样瓶,均用仪器洗液浸泡过夜(3.18),用蒸馏水(3.1)冲洗干净。
4.1 测汞仪。
4.2 记录仪:量程与测汞仪匹配。
4.3 汞还原器:总容积分别为50、75、100、250、500ml,具有魔扣,带莲蓬形多孔吹气头的玻璃翻泡瓶。
4.4 U型管(Φ15×110mm):内装变色硅胶(3.16)60~80mm长。
4.5 三通阀。
4.6 汞吸收塔:250ml玻璃干燥塔,内装经碘处理的活性炭(3.17)。
5 样品
将采集的土壤样品(一般不少于500g)混匀后用四分法缩分至约100g。缩分后的土样经风干(自然风干或冷冻干燥)后,除去土样中石子和动植物残体等异物,用木棒(或玛瑙棒)研压,通过2mm尼龙筛(除去2mm以上的砂砾),混匀。用玛瑙研钵将通过2mm尼龙筛的土样研磨至全部通过100目(孔径0.149mm)尼龙筛,混匀后备用。
6 分析步骤
6.1 试液的制备
6.1.1 硫酸-硝酸-高锰酸钾消解法
称取按步骤5制备的土壤样品0.5~2g(准确至0.0002g)于150ml锥形瓶中,用少量蒸馏水(3.1)润湿样品,加硫酸-硝酸混合液(3.5)5~10ml,待剧烈反应停止后,加蒸馏水(3.1)10ml,高锰酸钾溶液(3.7)10ml,在瓶口插一小漏斗,置于低温电热板上加热至近沸,保持30~60min。分解过程中若紫色褪去,应随时补加高锰酸钾溶液(3.7),以保持有过量的高锰酸钾存在。取下冷却。在临测定前,边摇边滴加盐酸羟胺溶液(3.8),直至刚好使过剩的高锰酸钾及器壁上的水合二氧化锰全部褪色为止。
注:对有机质含量较多的样品,可预先用硝酸加热回流消解,然后再加硫酸和高锰酸钾继续消解。
6.1.2 硝酸-硫酸-五氧化二钒消解法
称取按步骤5制备的土壤样品0.5~2g(准确至0.0001g)于150ml锥形瓶中,用少量蒸馏水(3.1)润湿样品,加入五氧化二钒(3.9)约50mg,硝酸(3.4)10~20ml,硫酸(3.2)5ml,玻璃珠3~5粒,摇匀。在瓶口插一小漏斗,置于电热板上加热至近沸,保持30~60min。取下稍冷,加蒸馏水20ml,继续加热煮沸15min,此时试样为浅灰白色(若试样色深应适当补加硝酸再进行分解)。取下冷却,滴加高锰酸钾溶液(3.7)至紫色不褪。在临测定前,边摇边滴加盐酸羟胺溶液(3.8),直至刚好使过剩的高锰酸钾及器壁上的水合二氧化锰全部褪色为止。
6.2 测定
6.2.1 连接好仪器,更换U型管中硅胶(3.16),按说明书调试好测汞仪及记录仪,选择好灵敏度挡及载气流速。将三通阀(4.5)旋至“校零”端。
6.2.2 取出汞还原器(4.3)吹气头,将试液(含残渣)全部移入汞还原瓶,用蒸馏水洗涤锥形瓶3~5次,洗涤液并入还原瓶,加蒸馏水至100ml。加入1ml氯化亚锡溶液(3.11),迅速插入吹气头,然后将三通阀(4.5)旋至“进样”端,使载气通入汞还原器(4.3)。此时试样中汞被还原并汽化成汞蒸气,随载气流入测汞仪的吸收池,表头指针和记录仪笔迅速上升,记下最高读数或峰高。待指针和记录笔重新回零后,将三通阀(4.5)旋至“校零”端,取出吹气头,弃去废液,用蒸馏水(3.1)清洗汞还原器(4.3)二次,再用稀释液(3.11)洗一次,以氧化可能残留的二价锡,然后进行另一试样的测定。
6.3 空白试样
每分析一批试样,按步骤(6.1)制备至少两份空白试样,并按步骤(6.2)进行测定。
6.4 校准曲线
准确移取汞标准使用溶液(3.15)0.00、0.50、1.00、2.00、3.00和4.00ml于150ml锥形瓶中,加硫酸-硝酸混合液(3.5)4ml,加高锰酸钾溶液(3.7)5滴,加蒸馏水(3.1)20ml,摇匀。测定前滴加盐酸羟胺溶液(3.8)还原,以下按6.2步骤进行测定。
将测得的吸光度为纵坐标,对应的砷含量(μg)为横坐标,绘制校准曲线。
7 结果表示
土样中总汞的含量c(Hg,mg/Kg)按下式计算:
c=m/W1-f)
式中:m——测得试样中汞量,μg;
W——称取土样重量,g;
f——土样水分含量,%。
8 精密度和准确度
多个实验室用本方法分析ESS系列土壤标样中总汞的精密度和准确度见表1。
表1 方法的精密度和准确度
|
实验室数 |
土壤标样 |
保证值mg/Kg |
总均值mg/Kg |
室内相对标准偏差% |
室间相对标准偏差% |
相对误差% |
|
25 |
ESS-1 |
0.016±0.003 |
0.016 |
6.2 |
32.5 |
0.0 |
|
26 |
ESS-3 |
0.112±0.012 |
0.100 |
3.4 |
20.0 |
-10.7 |
|
24 |
ESS-4 |
0.021±0.004 |
0.019 |
8.4 |
20.5 |
-9.5 |
附录A(标准的附录)
土样水分含量测定
A1 称取通过100目筛的风干土样5~10g(准确至0.001g),置于铝盒或称量瓶中,在105℃烘箱中烘4~5h,烘干至恒重。
A2 以百分数表示风干土样水分含量f按下式计算:
f(%)=(W1-W2)×100%/W1
式中:f——土样水分含量,%;
W1——烘干前土样重量,g;
W2——烘干后土样重量,g。
附录B(标准附录)
盐酸羟胺溶液的提纯
盐酸羟胺试剂中常含有汞,必须提纯。当汞含量较低时,可采用巯基棉纤维管除汞法;汞含量高时,先用萃取法除掉大量汞后再用巯基棉纤维管除汞。
B1 巯基棉纤维管除汞法:在内径6~8mm、长100mm左右、一段拉细的玻璃管,或500ml分液漏斗放液管中,填充0.1~0.2巯基棉纤维,将待净化试剂以10ml/min速度流过一至二次即可除尽汞。
巯基棉纤维(sulfhydryl cotton fiber,缩写S.C.F.)的制备:
于棕色磨口广口瓶中,依次加入100ml硫代乙醇酸(CH2HCOOH才,分析纯)、60ml乙酸酐[(CH3CO)2O]、40ml36%乙酸(CH3COOH)、0.3ml硫酸(3.2),充分混匀,冷却至室温后,加入30g长纤维脱脂棉,使之浸泡完全,用水冷却,待反应热散去后,放入40±2℃烘箱中2~4天后取出。用耐酸过滤漏斗抽滤,用无汞蒸馏水(3.1)充分洗涤至中性后,摊开,于30~35℃下烘干。成品放于棕色磨口广口瓶中,避光,较低温度下保存。
B2 萃取法:取250ml盐酸羟胺溶液(3.8)注入500ml分液漏斗中,每次加入15ml含二苯基硫巴腙(双硫腙C13H12N4S)0.1g/L的四氯化碳(CCl4)溶液,反复萃取,直至含双硫腙的四氯化碳溶液保持绿色不变为止。然后用四氯化碳萃取,以除去多余的双硫腙。
技术支持:思曼克科技123123 香港九龙渡船街28号宝时商业中心1305/1304室 00852-92935925 13924665613